一品楼免费信息论坛一品楼qm凤楼论坛 ,寻乐吧全国信息论坛,全国茶楼论坛官网入口,广州js论坛一品香一品楼品凤楼论坛qm

金融
FINANCE
客群价值深度挖掘 打造精准营销新模式

某银行客户指标标准梳理和应用

2023-11-06 17:05:21
一、指标标准体系建设
从基础数据标准->指标标准->指标标准体系,全面实现对企业重要数据的统一定义和规范化组织,提升信息应用的效率
指标体系框架梳理和定义了指标的应用和组织架构,各领域和子领域由多个基础指标或衍生指标组成。
完成指标框架搭建后,业务使用中可开展对业务模板(Business Solution Template)的设计。通过从指标体系中查找和发现业务常用的指标及维度,组合业务模板,能够迅速构建描述业务场景的常见指标群,并开展相关的报表设计和分析工作。
指标标准体系建设
对指标各项属性进行确认,发布指标数据标准基线。需要重点关注的内容包括指标的管理属性及业务属性,两者分别确认指标的管辖归属和业务内涵 。
指标标准体系建设
业务属性:指标的业务定义、统计条件范围和加工计算公式等。
技术属性:指标的技术类型、格式、精度和加工频率。
管理属性:指标的管理和使用部门。
通过指标标准制定,可支持各种统计类应用的业务理解规范化、开发的高效:
通过指标标准体系,业务人员可以方便地查看和定位报表中所需的指标、维度、公共统计规则;
指标定义、维度和公共统计规则等报表要素已在业务中达成共;
指标对基础数据(标准)的引用等也为系统人员分析、设计和开发报表提供参考规范,提高工作效率。
指标标准体系建设
二、指标管理组织
指标标准体系建设
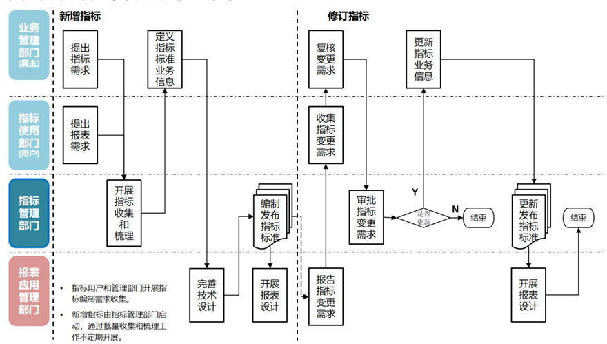
日常管理和使用流程
指标标准体系建设
 
三、指标深化应用
内部分析应用:各统计报表口径统一、数据准确

指标深化应用
对外报送:实现跨监管主体的报送项目间的数据一致性
指标深化应用指标深化应用
服务热线
400-608-2558
咨询热线
15502965860-
美林数据
微信扫描二维码,立即在线咨询